Analysis and forecasting of the coking process of oil residues of the Atyrau oil refinery
- Authors: Karabassova N.А.1, Kayrliyeva F.B.1
-
Affiliations:
- Atyrau Oil and Gas University named after Safi Utebaev
- Issue: Vol 7, No 2 (2025)
- Pages: 96-105
- Section: Petrochemistry and Oil Refining
- URL: https://vestnik-ngo.kz/2707-4226/article/view/108825
- DOI: https://doi.org/10.54859/kjogi108825
- ID: 108825
Cite item
Full Text
Abstract
Background: The deep processing of hydrocarbon raw materials represents the most significant challenge in the oil refining. Nowadays, there are various technologies available worldwide to process heavy oil residues, which enhance the yield of light petroleum products. Among these, delayed coking is regarded as one of the most promising approaches.
Aim: To investigate how the properties of processed raw materials affect the quantitative and qualitative indicators of coking products, we conducted tests using fuel oil samples from the Atyrau Oil Refinery, as well as flux and tar obtained through vacuum distillation followed by subsequent coking at the pilot unit.
Materials and methods: A pilot delayed coking unit was employed for the systematic processing of heavy oil residues. Additionally, mathematical modelling and analysis of the experimental results have been performed to predict the behaviour and outcomes of the coking process under investigation.
Results: The article presents the findings from studies conducted on the coking processes of fuel oil, flux and tar sourced from the Atyrau Oil Refinery. The volatile matter yield index for “crude” coke derived from tar decreases is observed to decrease to 7.1%, while for “crude” coke from fuel oil and flux are 7.8% and 7.4%, respectively. The ash content of coke obtained from tar is measured at 0.29%, whereas samples from fuel oil and flux yield ash contents of 0.23% and 0.26%. These measured values of ash content, volatile matter yield, and the mass fraction of silicon, iron, and vanadium for coke obtained from tar, meet the technical requirements for coke. Additionally, a mathematical prediction of the process was conducted, employing express determination to assess both qualitative and quantitative indicators of the resulting products.
Conclusion: Based on experimental data of the delayed coking unit of Atyrau oil refinery, better quality coke was obtained at the processing of tar compared to the processing of fuel oil and flux. The proposed model can be used to predict the coking process by express-determination of qualitative and quantitative indicators of the obtained products. The developed model can be used for personnel training in the field of modelling technological processes, since it does not require in-depth knowledge of programming, which makes it suitable for the initial training of specialists.
Keywords
Full Text
Введение
Нефтеперерабатывающие предприятия заинтересованы в увеличении глубины переработки нефти с выработкой максимального количества дистиллятных продуктов – бензина и дизельного топлива – с минимальными капитальными затратами.
В развитых промышленных странах, наряду с процессами гидрооблагораживания сырья, вторичных дистиллятов и остатков, продолжают углублять переработку нефти с помощью процесса коксования. Примерно треть мировых мощностей глубокой переработки нефтяных остатков приходится на замедленное коксование, из них около 50% мощностей сконцентрировано в США [1].
В схемах современных нефтеперерабатывающих предприятий коксование занимает важное значение не только как углубляющий процесс [2], но и как источник важного продукта – кокса, необходимого для цветной и чёрной металлургии. В отличие от каменноугольного кокса, нефтяной кокс обладает уникальными свойствами, обусловленными его происхождением. Он имеет более низкое содержание примесей, в т.ч. серы, что делает его особенно ценным в металлургической и химической промышленности. Нефтяной кокс используется для производства электродов, в качестве топлива, а также в различных технологических процессах, требующих высококачественного углеродного материала. Его плотная структура и высокая теплотворная способность делают нефтяной кокс незаменимым компонентом в производстве алюминия и других металлов, а также в энергетике [3].
Нефтеперерабатывающие заводы, имеющие в своей схеме замедленное коксование, могут использовать его как процесс вторичной переработки нефти, который при комбинировании с другими термическими, каталитическими и гидрогенизационными процессами может повысить глубину переработки нефти до 90–95% [4].
Популярность процесса замедленного коксования связана с тем, что в этом процессе, наряду с выработкой нефтяного кокса, можно получить газы, бензиновую фракцию и коксовые (газойлевые) дистилляты, а выход дистиллятных продуктов в зависимости от свойств исходного сырья и условий проведения процесса может достигать величины порядка 60% [2].
На нефтеперерабатывающих заводах АО НК «КазМунайГаз» имеются установки замедленного коксования (далее – УЗК). Например, на Атырауском нефтеперерабатывающем заводе (далее – АНПЗ) такая установка была введена в эксплуатацию в 1980 г. и с тех пор неоднократно модернизировалась. В настоящее время её мощность составляет 1 млн т/г. сырья, что позволяет производить до 170 тыс. т кокса ежегодно. На Павлодарском нефтехимическом заводе УЗК была введена в эксплуатацию в декабре 1986 г.; она перерабатывает тяжёлые остатки, такие как гудрон и мазут, в кокс, который используется в энергетике [5].
Материалы и методы
В рамках данной работы были исследованы нефтяные остатки переработки нефти на АНПЗ, основные показатели которых представлены в табл. 1.
Таблица 1. Характеристика остатков нефти АНПЗ
Table 1. Characteristics of oil residues of the Atyrau Oil Refinery
Показатели Indicators | Мазут Fuel oil | Полугудрон Flux | Гудрон Tar |
Выход на нефть, %масс. Yield to oil, % mass | 49,5 | 34,4 | 28,2 |
Качество остатков Quality if residuals | |||
плотность, кг/м³ density, kg/m3 | 906,8 | 937,7 | 944,5 |
коксуемость, % coking behavior, % | 5,9 | 8,9 | 10,3 |
вязкость при 80˚C, сСт viscosity at 80˚C, cSt | 28,9 | 163 | 360,2 |
содержание серы, % sulfur content, % | 0,52 | 0,56 | 0,63 |
групповой химический состав, %масс. hydrocarbon type content, % mass. | |||
парафино-нафтеновые УВ paraffin naphthenic HCs | 56,8 | 46,7 | 45,9 |
лёгкие ароматические УВ light aromatic HCs | 6 | 12 | 10,9 |
средние ароматические УВ medium aromatic HCs | 3,2 | 4,1 | 3,8 |
тяжёлые ароматические УВ heavy aromatic HCs | 20,8 | 20,5 | 18,6 |
смолы tars | 11 | 14 | 16,8 |
асфальтены asphaltenes | 2,2 | 2,7 | 4 |
выкипает до 500˚C, %об. boils off up to 500˚C, % vol. | 52 | 27 | 5 |
УВ / HCs – углеводороды / hydrocarbons
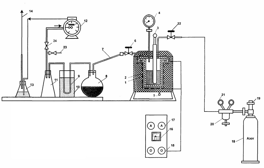
Для изучения продуктов процесса коксования сырьё – мазут, полугудрон и гудрон – коксовали на пилотной лабораторной установке, способной воспроизводить режим работы заводских установок. Схема пилотной установки коксования приведена на рис. 1.
Рисунок 1. Схема установки коксования
Figure 1. Сoking unit diagram
1 – кубик / block; 2 – печь / furnance; 3 – термопара кубика / thermowell; 4 – манометр кубика / pressure guage; 5 – термопара печи / furnance thermowell; 6 – вентиль кубика / block valve; 7 – воздушный конденсатор-холодильник / air cooler condenser; 8 – приёмник дистиллята / distillate collector; 9 – погружной конденсатор-холодильник / immersion condenser-cooler; 10 – водяной холодильник / water cooler; 11 – каплеотбойник / knockout drum; 12 – газовые часы / gas meter; 13 – гидрозатвор / hydraulic seal;14 – выброс газа / gas discharge; 15 – регулятор напряжения / voltage controlller; 16 – потенциометр / potentiometer; 17 – амперметры / ammeters; 18 – баллон азота / nitrogen cyllinder; 19 – вентиль азота / nitrogen valve; 20 – редуктор азота / nitrogen reducer; 21 – манометр опрессовки / pressure gauge; 22 – вентиль опрессовки / pressure valve; 23, 24 – краны отбора газа / gas offtake valve
Навеска сырья – 1 кг. Установка включает металлический кубик объёмом 2 л, помещаемый в электрическую печь. Нагрев содержимого кубика осуществляется после его опрессовки и присоединения через вентиль к системе сбора дистиллята, состоящей из воздушного холодильника и каплеотбойника.
Жидкий дистиллят улавливается в приёмнике и частично в каплеотбойнике, а газ коксования пропускается через газовые часы, где фиксируется его объём. При необходимости газ коксования отбирается в газометры для анализа несколько раз в течение одного опыта. Давление в кубике 0,2 МПа. Время коксования, фиксируемое с момента появления паров в приемнике и до окончания опыта, составляет 2–2,5 ч.
Температура жидкой массы в кубике достигает 460–470°С. После окончания процесса коксования температуру в реакторе поднимали до 550–600°С для подсушки кокса в течение 30 мин.
После охлаждения кубика его освобождают от кокса, а дистиллят из приёмника и каплеотбойника сливают и подвергают фракционированию на аппарате АРН-2 с получением бензиновой, лёгкой и тяжёлой газойлевых фракций.
Обсуждение качества продуктов коксования
После анализа газа нами рассчитаны материальные балансы процесса коксования мазута, полугудрона и гудрона (табл. 2). Нужно отметить, что выход продуктов коксования при различном сырье практически одинаковый, за исключением выхода «сырого» кокса. При переработке мазута «сырого» кокса выход составил 9,7%масс., при переработке полугудрона и гудрона – 14,2 и 17,9%масс. соответственно.
Качественные параметры газов и дистиллятов коксования, представленные ниже, вполне соответствуют заводским данным, наблюдаемым в производственных условиях на АНПЗ.
Таблица 2. Материальный баланс процесса коксования, %масс.
Table 2. Material balance of the coking process, % by mass.
Продукты коксования Coking products | Мазут АНПЗ AOR fuel oil | Полугудрон АНПЗ AOR flux | Гудрон АНПЗ AOR tar |
Жирный газ Rich gas | 8,9 | 8,7 | 7,9 |
Бензин Gasoline | 15,4 | 14,7 | 13,1 |
ЛГ Light gas oil | 39,6 | 37,5 | 38,6 |
ТГ Heavy gas oil | 25 | 23,4 | 21,2 |
«Сырой» кокс Crude coke | 9,7 | 14,2 | 17,9 |
Потери Loses | 1,7 | 1,5 | 1,3 |
ВСЕГО TOTAL | 100 | 100 | 100 |
ЛГ / LGO – лёгкий газойль / Light gas oil; ТГ / HGO – тяжёлый газойль / Heavy gas oil
Рисунок 2. Состав газа коксования
Figure 2. Composition of coking gas
В газах коксования плотностью 1,42 кг/м³ содержится: Н₂ – 0,54%, СО₂ – 0,65%, Н₂S – 1,47%, СН₄ – 18,08%; суммы С₂ – 15,19%, суммы С₃–С₄ – 44,41%, суммы С₅–С₆ – 19,66% (рис. 2).
Характеристики дистиллятных продуктов (табл. 3) следующие:
- бензины коксования содержат 0,12–0,15% серы и отличаются высокими значениями йодного числа (58–67 г I2/100 г);
- ЛГ коксования характеризуются хорошими значениями цетанового индекса (порядка 52);
- ТГ характеризуются низкими значениями вязкости при 80˚С – 7,9; 8,2 и 9,7 сСт, соответственно, из мазута, полугудрона и гудрона.
Таблица 3. Характеристика дистиллятов коксования
Table 3. Characteristics of coking distillates
Показатели Indicators | Из мазута From fuel oil | Из полугудрона From flux | Из гудрона From tar | ||||||
бензин gasoline | ЛГ LGO | ТГ HGO | бензин gasoline | ЛГ LGO | ТГ HGO | бензин gasoline | ЛГ LGO | ТГ HGO | |
Плотность, кг/м³ Density, kg/m³ | 746,1 | 833,7 | 891,6 | 754,5 | 836,9 | 894,2 | 747,6 | 838,2 | 900,1 |
Содержание серы, % Sulfur content, % | 0,12 | 0,25 | 0,31 | 0,13 | 0,26 | 0,32 | 0,15 | 0,29 | 0,36 |
Йодное число, г I2/100 г Iodine value, g I2/100 g | 67,5 | 43,3 | - | 64,4 | 41,2 | - | 58,4 | 38,1 | - |
Фракционный состав, %об. Fractional composition, % vol. | |||||||||
начало кипения, ˚C boiling point, ˚C | 62 | 183 | 314 | 64 | 179 | 320 | 58 | 170 | 317 |
10% выкипает при, ˚C 10% boils off at, ˚C | 92 | 222 | 335 | 90 | 217 | 339 | 88 | 206 | 341 |
50% выкипает при, ˚C 50% boils off at, ˚C | 136 | 281 | 375 | 133 | 276 | 391 | 126 | 267 | 405 |
90% выкипает при, ˚C 90% boils off at, ˚C | 182 | 337 | 458 | 179 | 333 | 461 | 172 | 319 | 466 |
98% выкипает при, ˚C (конец кипения) 98% boils off at, ˚C | 197 | 346 | 477 | 196 | 349 | 480 | 189 | 343 | 479 |
Цетановый индекс Cetane index | - | 55 | - | - | 55 | - | - | 52 | - |
Температура застывания, ˚C Solidification temperature, ˚C | - | -10 | 26 | - | -12 | 28 | - | -9 | 30 |
Вязкость при 20˚C, сСт Viscosity at 20˚C, cSt | 0,7 | 4,6 | - | 0,68 | 4,5 | - | 0,66 | 4,2 | - |
Коксуемость, % coking behavior, % | - | - | 0,71 | - | - | 0,69 | - | - | 0,93 |
Вязкость при 80˚C, сСт Viscosity at 80˚C, cSt | - | - | 7,9 | - | - | 8,2 | - | - | 9,7 |
По результатам (табл. 4) видно, что значение показателя выхода летучих веществ для «сырого» кокса, полученного из гудрона, снижается до 7,1%, а для «сырых» коксов, полученных из мазута и полугудрона, составляет 7,8% и 7,4%. Зольность кокса, полученного из гудрона, составляет 0,29%, а для образцов, полученных из мазута и полугудрона, имеет значение 0,23% и 0,26%. Анализируя физико-химические свойства «сырых» коксов, можно отметить, что с утяжелением сырья коксования уменьшается выход летучих веществ и повышается зольность.
Полученные значения зольности, выхода летучих веществ, а также массовая доля кремния, железа, ванадия для кокса, полученного из гудрона «сырой» кокс, удовлетворяет требованиям ГОСТ 22898-78 «Коксы нефтяные малосернистые. Технические условия»1 и соответствует спецификации качества АНПЗ [6].
Таблица 4. Характеристика «сырых» коксов
Table 4. Characteristics of “crude” cokes
Показатели Indicators | Из мазута From flux | Из полугудрона From flux | Из гудрона From tar |
Выход летучих веществ, %масс. Yield of volatile substances, % w/w. | 7,8 | 7,4 | 7,1 |
Содержание, %: Content, %: | |||
серы sulfur | 1,02 | 1,07 | 1,11 |
ванадия vanadium | 0,021 | 0,022 | 0,025 |
железа iron | 0,026 | 0,027 | 0,03 |
кремния silicon | 0,012 | 0,011 | 0,016 |
Зольность, % Ash content, % | 0,23 | 0,26 | 0,29 |
Действительная плотность (после прокалки), г/см³ Actual density (after calcination), g/cm³ | 2,07 | 2,08 | 2,08 |
Математическое моделирование процесса коксования
Для выполнения математического анализа процесса были использованы характеристики остатков нефти АНПЗ (табл. 1) и значения показателя коксуемости сырья. Был применён метод однофакторного анализа по регрессионным уравнениям (1):
(1)
где х – величина коксуемости сырья; у – величина выходов продуктов коксования, a0…a2– корреляционные показатели.
По уравнению (1) были выполнены расчёты материального баланса процесса коксования, плотности сырья и продуктов, выход исходного нефтяного остатка на нефть и выход летучих веществ в коксе.
Для расчёта выходов продуктов коксования использовали следующие уравнения (2–6):
(2)
(3)
(4)
(5)
(6)
где у1 – выход газа и потерь, %; у2 – выход бензина, %; у3 – выход легкого газойля, %; у4 – выход тяжёлого газойля, %; у5 – выход сырого кокса,%; R2 – коэффициент детерминации.
В табл. 5 сведены данные по выходу продуктов коксования, определённых по уравнениям регрессии (2–6):
Таблица 5. Расчётный выход продуктов коксования, %масс.
Table 5. Estimated yield of coking products, % by weight
Показатели Indicators | Обозначение Symbol | Мазут Fuel oil | Полугудрон Flux | Гудрон Tar |
Газ + потери Gas+losses | у1 | 10,269 | 10,104 | 9,734 |
Бензин Gasoline | у2 | 15,327 | 14,470 | 13,181 |
ЛГ LGO | у3 | 39,632 | 37,601 | 36,964 |
ТГ HGO | у4 | 24,982 | 23,342 | 22,320 |
Сырой кокс Crude coke | у5 | 9,790 | 14,484 | 17,800 |
ИТОГО TOTAL | 100 | 100 | 100 |
Путём сравнения расчётных (табл. 5) и экспериментальных (табл. 1) данных определили процентные значения ошибки расчёта (табл. 6).
Таблица 6. Процентные значения ошибки по сравнению с экспериментом, %
Table 6. Percentage error values compared to experiment, %
Показатели Indicators | Мазут Fuel oil | Полугудрон Flux | Гудрон Tar |
Газ + потери Gas+losses | 0,29799 | 0,945712 | 0,351 |
Бензин Gasoline | 0,4762 | 1,567883 | 0,62 |
ЛГ LGO | 0,08101 | 0,268856 | 0,096 |
ТГ HGO | 0,0735 | 0,246781 | 0,091 |
Сырой кокс Crude coke | 0,93115 | 1,999066 | 0,559 |
По следующим уравнениям (6–9), полученным тем же методом, можно рассчитать плотность сырья и продуктов коксования:
(6)
(7)
(8)
(9)
где у6 – – плотность сырья, кг/м³, у7– плотность бензина, кг/м³, у8 – плотность легкого газойля, кг/м³, у9 – плотность тяжёлого газойля, кг/м³.
В табл. 7 сведены данные по плотности сырья и продуктов коксования, полученные расчётным путём:
Таблица 7. Расчётные данные показателей плотности сырья и продуктов коксования, кг/м³
Table 7. Calculated data of raw material and coking product density indicators, kg/m³
Показатели Indicators | Обозначение Symbol | Мазут Fuel oil | Полугудрон Flux | Гудрон Tar |
Сырьё Raw materials | у6 | 905,535 | 936,540 | 944,515 |
Бензин Gasoline | у7 | 746,028 | 747,087 | 747,969 |
ЛГ LGO | у8 | 834,055 | 836,174 | 837,939 |
ТГ HGO | у9 | 891,239 | 894,752 | 899,735 |
Сравнение этих расчётных плотностей с экспериментальными значениями плотности показывает их хорошее совпадение.
По следующим уравнениям (10–11) в зависимости от коксуемости сырья определили выход исходного сырья (остатка) на нефть и выход летучих веществ в сыром коксе. Полученные результаты приведены в табл. 8.
(10)
(11)
где у10 – выход исходного сырья на нефть, %; у11 – выход летучих веществ в сыром коксе, %.
Таблица 8. Выход исходного сырья на нефть и выход летучих веществ в коксе, %масс.
Table 8. Yield of feedstock in oil and yield of volatile substances in coke, % by weight
Показатели Indicators | Обозначение Symbol | Метод Technique | Мазут Fuel oil | Полугудрон Flux | Гудрон Tar |
Выход сырья на нефть Yield of raw materials to oil | у10 | эксперимент test | 49,500 | 34,400 | 28,200 |
расчёт calculation | 49,551 | 34,561 | 28,143 | ||
Выход летучих в коксе Volatile yield in coke | у11 | эксперимент test | 7,8 | 7,4 | 7,1 |
расчёт calculation | 7,794 | 7,381 | 7,107 |
При составлении математической модели для расчёта содержания серы в продуктах коксования применим тот же метод описания (12–16):
(12)
(13)
(14)
(15)
(16)
где х – содержание серы в исходном сырье, %; z1 – содержание серы в бензине, %; z2 – содержание серы в легком газойле, %; z3 – содержание серы в тяжёлом газойле, %; z4 – содержание серы в сыром коксе, %; z5 – содержание ванадия в коксе, %.
Сравнение полученных расчётных данных с экспериментальными представлено в табл. 9:
Таблица 9. Данные по содержанию серы в нефтепродуктах и ванадия в коксе, %масс.
Table 9. Data on the content of sulfur in petroleum products and vanadium in coke, % by weight
Показатели Indicators | Обозначение Symbol | Метод Technique | Мазут Fuel oil | Полугудрон Flux | Гудрон Tar |
Бензин Gasoline | z1 | эксперимент test | 0,120 | 0,130 | 0,150 |
эксперимент test | 0,120 | 0,131 | 0,150 | ||
ЛГ LGO | z2 | эксперимент test | 0,250 | 0,260 | 0,290 |
эксперимент test | 0,248 | 0,263 | 0,289 | ||
ТГ HGO | z3 | эксперимент test | 0,310 | 0,320 | 0,360 |
эксперимент test | 0,306 | 0,325 | 0,358 | ||
Сырой кокс Crude coke | z4 | эксперимент test | 1,020 | 1,070 | 1,110 |
эксперимент test | 1,028 | 1,059 | 1,114 | ||
Ванадий vanadium | z5 | эксперимент test | 0,021 | 0,023 | 0,025 |
эксперимент test | 0,0213 | 0,0227 | 0,0251 |
Результаты и обсуждение
На основании экспериментальных данных и возможности работы УЗК АНПЗ было определено, что при переработке гудрона получается кокс лучшего качества, чем при переработке мазута и полугудрона.
Точность расчётов по разработанной модели оценивалась по значениям коэффициента детерминации (R2). Известно, что если значение коэффициента детерминации близко к единице, то модель является вполне адекватной. Поскольку в расчётах значение этого коэффициента варьирует в пределах 0,95544–0,99895, можно сказать, что данную модель можно использовать для прогноза процесса коксования путём экспресс-определения качественных и количественных показателей продуктов коксования.
Заключение
Экспериментально показано, что с углублением отбора вакуумного газойля из мазута и доведением коксуемости сырья коксования до 10% существенно увеличивается выход сырого кокса – с 9–10% до 17–18% – при одновременном сохранении его качества.
Разработана математическая модель для прогнозирования материального баланса процесса коксования и основных параметров качества получаемых дистиллятных продуктов и сырого кокса по значениям показателей «коксуемость» и «содержание серы» в исходном сырье коксования.
Данная модель может быть эффективно использована для обучения персонала в области моделирования и прогнозирования качества выпускаемых коксов.
Дополнительно
Источник финансирования. Авторы заявляют об отсутствии внешнего финансирования при проведении исследования.
Конфликт интересов. Авторы декларируют отсутствие явных и потенциальных конфликтов интересов, связанных с публикацией настоящей статьи.
Вклад авторов. Все авторы подтверждают соответствие своего авторства международным критериям ICMJE (все авторы внесли существенный вклад в разработку концепции, проведение исследования и подготовку статьи, прочли и одобрили финальную версию перед публикацией). Наибольший вклад распределён следующим образом: Карабасова Н.А. – проведение опытов, анализ полученных продуктов, написание текста, иллюстрации; Кайрлиева Ф.Б. – концепция исследования, математическое моделирование, расчёт по полученным экспериментальным данным.
Additional information
Funding source. This study was not supported by any external sources of funding.
Competing interests. The authors declare that they have no competing interests.
Authors’ contribution. All authors made a substantial contribution to the conception of the work, acquisition, analysis, interpretation of data for the work, drafting and revising the work, final approval of the version to be published and agree to be accountable for all aspects of the work. The greatest contribution is distributed as follows: Nagima A. Karabassova – conducting experiments, analyzing the obtained products, writing, graphics; Fazilat B. Kayrliyeva – research concept, mathematical modeling, calculation based on experimental data obtained.
1 ГОСТ 22898-78 «Коксы нефтяные малосернистые. Технические условия». Дата введения 01.01.1979. GOST 22898-78. Low-sulphur petroleum cokes. Specifications. Dated 1979 Jan 1.
About the authors
N. А. Karabassova
Atyrau Oil and Gas University named after Safi Utebaev
Author for correspondence.
Email: nagima@inbox.ru
ORCID iD: 0000-0001-6121-1125
Kazakhstan, Atyrau
F. B. Kayrliyeva
Atyrau Oil and Gas University named after Safi Utebaev
Email: kairliyeva.fazi@mail.ru
ORCID iD: 0000-0001-5323-0916
Cand. Sc. (Engineering)
Kazakhstan, AtyrauReferences
- Kovalchuk RS, Klimov DS, Moroshkin YG, Slepokurov II. Goals and tasks at reconstruction and development of coke production department in Lukoil-Volgogradneftepererabotka OC. Technical and economic analysis. World of oil products. The Oil Companies’ Bulletin. 2018;7:11–15.
- Aubakirov YA, Sassykova LR, Buzayev NA, et al. Investigation of obtaining low-sulfur coke from heavy oil residues in the presence of a recycling agent. Materials Today: Proceedings. 2020;31(3):514–517. doi: 10.1016/j.matpr.2020.06.060.
- Telyashev Y, Khayrudinov I. Neftepererabotka: novye-starye razrabotki. The Chemical Journal. 2004;10–11:68–71. (In Russ).
- Shigapov R, Nurieva E, Sagdeeva G. Optimization of operation of heavy oil residue processing units in delayed coking processes. Bulletin of Science and Practice. 2024;10(6):446–453. doi: 10.33619/2414-2948/103/47.
- Akhmetov MM, Karpinskaya NN, Telyashev EG. Neftyanoy koks: polucheniye, kachestvo, prokalivaniye, oblasti ispolzovaniya. Ufa: INHP; 2018. 584 p. (In Russ).
- anpz.kz [Internet]. Koks neftyanoy prokalennyy KP-1, KP-2 anodnyy dlya alyuminiyevoy promyshlennosti po TU 38.1011341-90 «Koksy neftyanye prokalennye. Tekhnicheskiye usloviya” [cited 2024 Jul 12]. Available from: https://www.anpz.kz/product/.(In Russ).





